石材 “ 包柱 ” 的方式及构造做法
—— 甘肃多多28石材有限公司 ——

石材包柱有钢筋网绑扎法、干挂法、粘贴法三种做法。其中钢筋网绑扎法加工较简便,但接缝处易产生泛碱问题;
干挂法可以解决泛水问题,但成形后的体量较大;粘贴法则只适用于面积较小、厚度在20mm以下的板材和高度不高的基体上。
1、钢筋网绑扎法
钢筋网绑扎法是一种传统的铺贴石材的施工方法。它的施工程序大体如下:设置钢筋网;试拼编号;板材背面开槽;绑扎板材;找平吊直并临时固定;灌浆;养护;嵌缝。

钢筋网的设置形式
① 设置钢筋网:如柱面上设有预埋件时,用铜丝或不锈钢丝按施工图大样将钢筋制成钢筋骨架,固定于基体上。
当柱面没有预埋件时,可用电锤在柱面上钻孔,并于孔内安放膨胀螺栓,再用电焊将钢筋与螺栓焊牢。
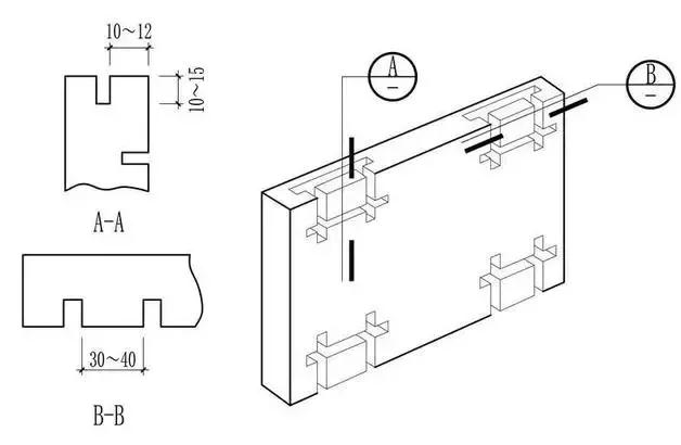
② 绑扎板材:用切割机在板材背面分别开四角开槽,穿插和固定好铜丝或不锈钢丝。
板材背面槽口形式
③ 安装板材:安装时可按顺时针,从正面开始由下向上逐层安装,并用靠尺板找垂直,用水平尺找平整,用方尺找好阴阳角,紧固钢(铜)丝。
板缝用石膏填塞,以防止板材移位和砂浆发生泌浆。灌浆时应根据板材颜色调制水泥砂浆,如浅色石材灌浆时应采用白水泥,以使板材底色不受影响。
④ 嵌缝:板材安装完毕后,应清除板缝间多余的粉尘,用与板材底色相近的水泥浆进行嵌缝。对于镜面石材,如面层光泽受到影响,应重新打蜡上光。
2、干挂法
干挂法就是用特制的不锈钢挂件,将石材固定在基体上的一种施工方法。这种方法不需要用水泥砂浆灌注或水泥镶贴,方便简捷。

方法是直接在石板上打孔、开槽,然后用不锈钢连接件、角钢与埋在柱体内的膨胀螺栓直接相连而成。
不锈钢挂件的布置
3、粘贴法
粘贴法就是将板材用聚合物水泥砂浆或胶粘剂粘贴到基体表面的一种施工工艺。
方法是用水泥砂浆在柱体上抹灰找平,用聚合物水泥砂浆或胶粘剂在找平层的表面和板材的背面铺摊饱满。按施工图纸要求将板材就位,并用临时工具进行顶卡固定。

柱面板材的临时
—— 甘肃多多28石材有限公司 ——